中心議題:
- 基于ZigBee的智能家居安全監控系統設計
解決方案:
- 智能家居安全監控系統的硬件設計
- 只能家居安全監控系統的軟件設計
為實現對家庭安全的實時監控,提出了智能家居遠程安全監控系統設計方案。系統基于ZigBee技術和GSM /GPRS網絡進行設計,能夠通過彩信和短信發出監控圖像和報警信息,接收遠程指令;同時引入了多種傳感器,實現了對家用電器的遠程控制,實現了智能家居遠程監控。重點闡述了系統的硬件、軟件設計以及系統的性能測試,實現了多個監控裝置的無線聯網。實驗結果表明,所設計的系統能夠實現安全、便捷的智能家居遠程監控,并具有較高的可用性和可靠性。
0 前 言
智能家居又稱智能住宅,正朝著具備無線遠程控制、多媒體控制、高速數據傳輸等功能的方向發展,其關鍵技術為兼容性強的家庭控制器和滿足信息傳輸需要的家庭網絡。目前,傳輸網絡多采用綜合布線技術,限制了系統的應用場所,而且費用較高。采用無線方式構建靈活便捷的智能家居安全監控系統,成為當前的研究熱點。
目前,應用于智能家居的無線通信技術主要包括: Ir2DA紅外線技術、藍牙技術和ZigBee技術等。IrDA屬于短距離、點對點的半雙工通信方式,使用不便且失誤率高,不適用于家庭的組網方式;藍牙技術則因為網絡容量有限,成本較高,不適于節點較多的家居網絡應用。
本研究通過采用傳輸范圍適中、安全可靠、網絡容量較大的ZigBee技術,設計智能家居遠程安全監控系統。
1 系統架構
1. 1 ZigBee網絡拓撲選型
ZigBee是一種近距離、低復雜度、低功耗、低成本的雙向無線通信技術,主要適用于自動控制和遠程控制領域。IEEE802. 15. 4 是ZigBee技術的基礎,與高速率個人區域網、藍牙或802. 11x無線局域網相比,ZigBee協議更為簡單實用。
ZigBee網絡的拓撲結構主要有3種:星型、樹狀和網狀網絡。網狀網絡容錯能力高、自適應力好、傳輸距離長,但其復雜度也最高;星型網絡具有簡潔和低功耗等特點,使用簡單,適用于家庭的小規模、低復雜度的應用;樹狀網絡則介于兩者之間。在智能家居中應用星型網絡,可獲得較高的性價比。
1. 2 系統構成
本系統采用模塊化設計方案。以嵌入式系統主板為核心,通過CMOS攝像頭對關鍵部位進行安全監測,通過手機傳遞安全信息和圖像彩信,并對家用電器進行遠程控制,利用ZigBee模塊實現家用電器、系統主板和煙霧、溫度、煤氣等傳感器的無線聯網。
系統主板的核心控制器為S3C44B0X型32位微控制器,對數據進行處理和判別,并通過彩信模塊和Zig2Bee模塊發出信息和指令;擴展板用以接入煙霧、紅外、煤氣等家庭安防狀態傳感器;彩信模塊將系統控制器所發出的家庭安防狀態信息發送至用戶手機,并接收用戶發送的短信指令; ZigBee模塊負責系統主板、擴展板和家用電器之間的數據交聯。系統結構如圖1所示。

圖1 基于ZigBee的智能家居安全監控系統
[page]
2 系統硬件設計
2. 1 串口攝像機
串口攝像機采用了優化的串行通訊協議,支持分包傳輸,使主機可以配置更小的緩存,同時提供了TTL電平和RS232 電平兩種輸出。通過串行通信實現與主機之間的指令和數據的傳輸,主機可對其進行波特率、圖像分辨率、發送方式等狀態參數的設定。
2. 2 彩信模塊設計
彩信模塊內置彩信協議,是集SMS、MMS于一體的GSM /GPRS模塊。它采用AT指令進行模塊控制,通過RS232接口進行控制命令和數據的傳輸。其內部集成600 KB 的Flash存儲空間,可供發送MMS信息時實現圖片的多張上傳。
2. 3 系統控制器
本系統采用32位R ISC處理器S3C44B0X,具有豐富的功能和外設,包括: 8 KB Cache、內部SRAM、LCD控制器、2通道UART、4通道DMA、帶有PWM功能的5通道定時器等。該處理器在各方面的性能均能滿足系統的需要,并且在同類產品中的性價比也是較高的。
2. 4 ZigBee收發器件
本系統采用CC2430芯片作為ZigBee無線通信模塊。CC2430整合了ZigBee射頻(RF)前端、內存和微控制器。
CC2430集成了符合IEEE802. 15. 4 標準的2. 4GHz的RF無線電收發機,支持數字化的RSSI/LQ I,具有CSMA /CA功能和強大的DMA功能、電池監測和溫度感測功能,同時具有強大和靈活的開發工具。
2. 5 系統硬件接口設計
ZigBee模塊通過RS232 接口與系統主板通過串口進行通信; ZigBee模塊之間以無線網絡的形式進行數據傳輸,其中與傳感器相連的ZigBee模塊利用其普通I/O端口作為傳感器信號的接收端口;與家用電器相聯的ZigBee模塊通過繼電器控制家用電器的開關運行。系統硬件的接口設計與連接如圖2所示。

圖2 系統硬件接口設計
串口攝像機和彩信模塊使用RS232 接口與S3C44B0X處理器進行數據和指令的傳輸。
3 系統軟件設計
整個系統軟件開發采用模塊化設計方案,具體可分為3個部分: ZigBee無線收發、彩信及短信收發和圖像采集處理。
3. 1 ZigBee無線網絡的應用
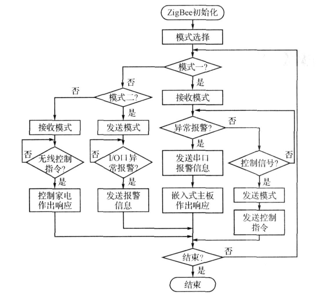
無線通信的軟件設計主要包括:系統異常報警信號的傳輸和接收、ARM處理器和ZigBee模塊之間以及各ZigBee模塊之間的數據傳輸控制等, ZigBee無線通信模塊軟件流程圖如圖3所示。其中,根據在網絡中所處的層次,將ZigBee模塊設定為3個運行模式:
模式1.與系統主板相連。用來接收其他ZigBee模塊發送的報警信息和將主板給出的控制信息發送給其他ZigBee模塊,是主板與外部設備進行無線通信的核心樞紐。
模式2.通過繼電器與家用電器相連,置于接收狀態。當接收到其他ZigBee模塊發送過來的控制指令時,控制家電執行相應的開關動作。
模式3.通過繼電器與傳感器相連,置于發送狀態。當ZigBee模塊接收到傳感器的報警信號時,將報警信號發送給其他ZigBee模塊。
[page]
模塊的模式可通過撥碼開關進行設定。不同模式的模塊負責各層間數據和指令的傳輸,構成了家庭安防局域網。

圖3 無線通信模塊的軟件流程
3. 2 彩信及短信的收發實現
彩信模塊可實現SMS和MMS的收發功能,通過AT指令進行控制。首先要進行模塊初始化配置,如設置接入點、IP設定、設置MMS通信模式、設置服務器網址等。
Xmodem協議的開始標志是文件接收方發出"NAK"字節,文件發送方在收到該信號后發送數據幀,雙方開始正常通信過程。基于Xmodem協議上傳圖片的流程如圖4所示。

圖4 發送文件流程
3. 3 異常狀態檢測
本系統能夠通過圖像方式,對外人入侵、火災等室內異常情況進行自動判別。其智能性主要體現在:系統軟件能夠對環境狀態進行自學,從而能適應背景環境的變化;對于臨界狀態,能夠自動啟動狀態跟蹤監控,通過多幅圖片獲得準確的判斷結果。以背景差分法和幀間差分法為基礎,采用了動靜閾值結合法。整個目標的檢測過程主要包括:圖像預處理;量化函數運動檢測(或小目標運動跟蹤檢測) ; 異常情況判別及處理。
[page]
當系統接收到攝像機傳送的新圖像后,首先進行預處理和去噪,以得到可以量化物體運動或異常區域的二值圖像;然后進行異常狀態分析與判斷。系統采用兩種異常量化函數:基于全局的位圖處理和抽查檢測處理。然后,根據異常量化函數指標進行特定的后續操作。若需進入異常報警處理程序,則傳送報警信號,發送MMS信息,并存儲當前視頻等;若需進入臨界異常跟蹤,則啟動臨界異常跟蹤程序;否則進行背景更換判定并等待獲取下一幅監控圖像。
4 系統測試及實驗數據分析
本系統采用運動目標檢測算法,實現對監視對象的圖像處理與異常判斷,占背景面積8‰的小目標都能被系統識別。系統有效消除了因環境光線變化、背景微變、小目標漸進運動等因素引起的系統誤判。采用本系統軟、硬件進行入侵事件檢測,其實驗圖片及檢測效果如圖5所示。

圖5 入侵事件跟蹤檢測效果
為驗證ZigBee通信在智能家居安全監控系統中的性能,測試了兩組性能指標:
①無障礙狀態下,隨著距離的增加,數據丟包率、接收功率和自由空間衰減的變化情況;
②數據傳輸距離為30 m時,隨著障礙物增加而產生的丟包率;實驗數據分別如表1、表2所示。
接收功率根據CC2430芯片內建的RSSI (接收信號強度指示) 測得, RSSI的值存放在寄存器RSSIL.
RSSI_VAL中,其與接收功率的對應關系如下:
P =RSSI_VAL +RSSI_OFFSET[ dBm ].
其中, RSSI_OFFSET是經驗取值,約為- 45 dB.

表1 無障礙物時的測試數據

表2 存在障礙時的30 m距離測試數據
實驗結果表明,在無障礙物傳輸距離為80 m以內時,傳輸數據的丟包率低于1%,能夠充分滿足正常家居環境的通信需要,而且接收功率很低,非常適合家庭的使用; ZigBee模塊之間通信傳輸距離為30 m時,穿過2堵水泥墻的丟包率僅為1%,穿過1堵水泥墻時丟包率為0% ,完全能夠滿足系統設計的要求。
5 結束語
本研究提出并設計完成一種基于ZigBee的智能家居安全監控系統,分別從系統功能介紹、硬件設計、軟件設計、實驗數據分析等方面分析了ZigBee技術在該系統中的應用。將ZigBee技術應用于智能家居中,實現了快速率、低成本、低功耗的無線網絡通信。通過將傳統傳感器報警系統和圖像監控系統相結合,形成了新型的智能安防系統。用戶可以通過手機或PC機接收MMS信息,根據需要進行遠程手機設定,從而實現靈活、便捷的家庭安全監控。





