【導讀】在各種電源應用領域,例如工業電機驅動器、AC/DC 和 DC/DC 逆變器/轉換器、電池充電器、儲能系統等,人們不遺余力地追求更高效率、更小尺寸和更優性能。性能要求越來越嚴苛,已經超出了硅 (Si) 基 MOSFET 的能力,因而基于碳化硅 (SiC) 的新型晶體管架構應運而生。
本文主要探討了第三代SiC MOSFET在電源設計中的應用。文章對比了Si與SiC的材料特性,回顧了SiC MOSFET的發展歷程,并重點介紹了Toshiba Semiconductor and Storage Corp.的第三代SiC MOSFET系列,包括其結構優化、性能提升的實例,說明這些器件如何幫助設計人員在電源系統設計方面取得重大進展。
在各種電源應用領域,例如工業電機驅動器、AC/DC 和 DC/DC 逆變器/轉換器、電池充電器、儲能系統等,人們不遺余力地追求更高效率、更小尺寸和更優性能。性能要求越來越嚴苛,已經超出了硅 (Si) 基 MOSFET 的能力,因而基于碳化硅 (SiC) 的新型晶體管架構應運而生。
雖然新式器件在所有關鍵性能指標方面都有明顯的優勢,但由于各種局限性和應用的不確定性,設計人員對第一代 SiC 器件持謹慎態度是明智的。第二代器件規格方面經過優化,也更多地考慮到了器件的細節。一方面 SiC MOSFET 性能不斷提升,另一方面上市時間的壓力加劇,設計人員開始使用這些新式器件來達成產品目標。最近出現的第三代器件表明,基于 SiC 的電源裝置已經成熟。這些器件在所有關鍵參數方面都做了改進,同時借鑒了前幾代器件的設計導入經驗和相關專業知識。
由于各種深層物理學原因,SiC 有三大電氣特性與純硅明顯不同,每個特性均賦予其工作優勢。此外,SiC 還有其他一些更微妙的差異(圖 1)。
更高的臨界擊穿電場電壓(約 2.8 MV/cm,Si 為 0.3 MV/cm),因而在給定電壓額定值下工作時,可以使用更薄的層,大大降低漏源導通電阻 (RDS(on))。
更高的導熱率,因而在橫截面上可以實現更高的電流密度。
更寬的帶隙(半導體和絕緣體中價帶頂部與導帶底部之間的能量差,單位為 eV),使得高溫下的漏電流更低。出于這個原因,SiC 二極管和場效應晶體管 (FET) 常被稱為寬帶隙(WBG) 器件。
憑借良好的性能屬性和長足的進步,SiC 器件現在已在功率與速度的應用矩陣中占據了突出的位置,加入了 IGBT、硅基 MOSFET 和 GaN 器件的行列(圖 2)。
圖 2:SiC MOSFET 的性能屬性使其適用于非常廣泛的應用,涵蓋各種功率和頻率額定值。(圖片來源:Toshiba)
從基礎 SiC 材料科學和器件物理學到商用 SiC MOSFET,這條路很漫長且艱難(圖 3)。經過大量研究和生產努力,第一款基于 SiC 的器件(肖特基二極管)于 2001 年推出。在那之后的 20 年里,業界陸續開發并發布了第一代、第二代和第三代量產 SiC MOSFET。每一代產品都在特定參數方面做了針對性的改進,同時也有一些不同的權衡。
Toshiba的第二代產品修改了 SiC 器件的基本結構,將肖特基勢壘二極管 (SBD) 嵌入 MOSFET 中,在很大程度上解決了這個問題(圖 4)。這使可靠性提高了一個數量級以上。在新結構中,SBD 與單元內部的 PN 二極管平行放置,從而防止 PN 二極管通電。電流流經嵌入式 SBD,因為其導通狀態電壓低于 PN 二極管,從而抑制了導通電阻的一些變化和 MOSFET 可靠性的降低。
具有嵌入式 SBD 的 MOSFET 已被投入實際使用,但僅用于高壓產品,例如 3.3 kV 電源裝置,因為嵌入式 SBD 會導致導通電阻最終上升到只有高壓產品才能承受的水平。Toshiba 調整了各種器件參數,發現 MOSFET 中 SBD 面積比是抑制導通電阻增加的關鍵。通過優化 SBD 面積比,Toshiba 設計了一種 1.2 kV 級 SiC MOSFET,其可靠性得到了明顯改善。
然而,同許多增強產品一樣,有利也有弊。雖然新的器件結構大大提高了可靠性,但它也對兩個 FoM 產生了不利影響。標稱 RDS(on) 和 RDS(on) × Qg 得以增加,導致 MOSFET 的性能下降。為了彌補和降低導通電阻,第二代 SiC MOSFET 增加了芯片面積,但這也增加了成本。
第三代器件真正成熟
認識到這一問題之后,Toshiba 開發了第三代 SiC MOSFET 器件,稱為 TWXXXN65C/TWXXXN120C 系列。該系列器件優化了電流擴展層的結構以減小單元尺寸,同時提供更高的額定電壓、更快的開關速度和更低的導通電阻。
通過降低擴展電阻 (Rspread),部分降低了導通電阻。通過向 SiC MOSFET 的寬 P 型擴散區(P 阱)的底部注入氮氣,SBD電流得以增加。Toshiba 還減小了 JFET 區域并注入氮氣,以降低反饋電容和 JFET 電阻。由此,在不增加導通電阻的情況下,反饋電容得以降低。另外,通過對 SBD的位置進行優化,器件實現了導通電阻無波動的穩定運行。
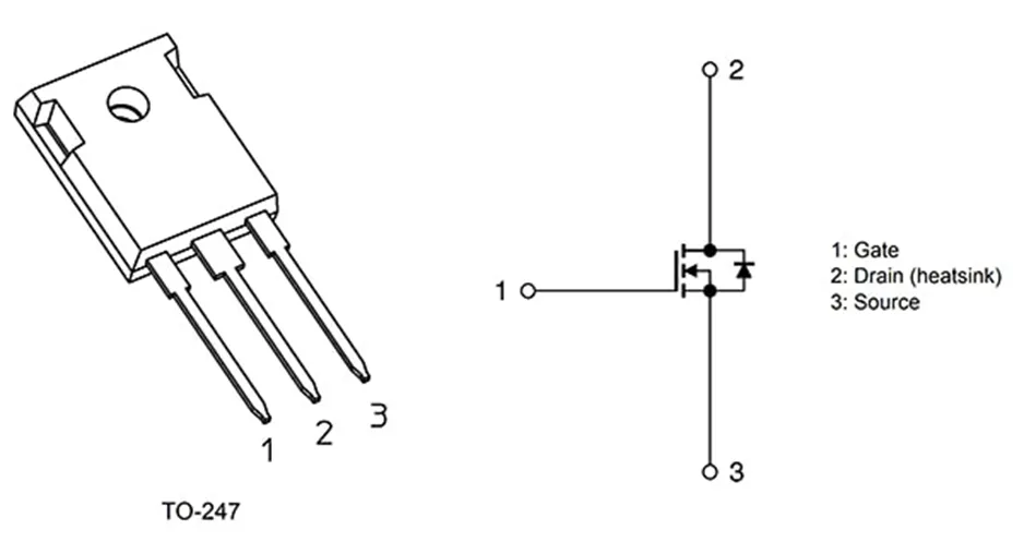
目前,該系列包括 650 V 和 1200 V SiC MOSFET,設計用于大功率工業應用,如 400 V 和 800 V AC/DC 電源、光伏 (PV) 逆變器和用于不間斷電源 (UPS) 的雙向 DC/DC 轉換器。650 V 和1200 V SiC MOSFET 均采用行業標準的三引線 TO-247 封裝(圖 5)。
與 Toshiba 的第二代器件相比,這些第三代 SiC MOSFET 的 RDS(on) × Qg FoM 降低了 80%(降幅非常顯著),同時開關損耗降低了約 20%。內置的肖特基勢壘二極管技術還提供了超低正向電壓 (VF)。
此外,還有其他與 MOSFET 相關的設計導入巧妙之處。以 VGSS 為例,VGSS 是在漏極和源極短路時可施加于柵極和源極之間的最大電壓。對于第三代 SiC 器件,VGSS 的范圍是 10 至 25 V,推薦值為 18 V。VGSS 額定值的范圍廣泛有助于簡化設計,同時提高設計的可靠性。
此外,低電阻和更高柵極閾值電壓(VGS(th),即 MOSFET 通道開始導電的電壓)有助于防止故障,如因尖峰、毛刺和過沖而導致的意外導通。該電壓的范圍為 3.0 至 5.0 V,有助于確保可預測的開關性能且漂移極小,同時支持簡化柵極驅動器設計。
深入了解 650 V 和 1200 V 第三代SiC MOSFET
該系列的兩端分別是 650 V 和 1200 V 器件,由此可以看出其能力之全面。所有器件的物理封裝、引腳布局和原理圖符號都相同(圖 6),但具體細節不同。
其中一款 650 V 器件是 TW015N65C,這是一款 N 溝道器件,額定電流為 100 A,額定功率為 342 W。其典型規格值如下:輸入電容 (CISS) 為 4850 pF,柵極輸入電荷 (Qg) 低至 128 nC,標稱 RDS(on) 只有 15 mΩ。
除了顯示靜態和動態參數的最小值、典型值和最大值的表格外,規格書中還有顯示關鍵參數的性能與溫度、漏極電流、柵源電壓 (VGS) 等因數關系的曲線圖。例如,RDS(on) 值與溫度、漏極電流 (ID)、柵源電壓 VGS 的關系如圖 7 所示。
圖 8 顯示了 1200 V 器件(例如20 A、107 W N 溝道器件 TW140N120C)的同一組規格和曲線圖。此SiC MOSFET 具有如下特性:CISS 低至 6000 pF,柵極輸入電荷 (Qg) 為 158 nC,RDS(on) 為 140 mΩ。
15 mΩ,100 A,342 W (TWO15N65C)
27 mΩ,58 A,156 W
48 mΩ,40 A,132 W
83 mΩ,30 A,111 W
107 mΩ,20 A,70 W
15 mΩ,100 A,431 W
30 mΩ,60 A,249 W
45 mΩ,40 A,182 W
60 mΩ,36 A,170 W
140 mΩ,20 A,107 W (TW140N120C)
相比于純硅器件,碳化硅 MOSFET 在關鍵的開關參數方面有很大改進。與前幾代器件相比,第三代 SiC 器件優化了規格和 FoM,提高了可靠性,更好地滿足了柵極驅動器的要求,并且對不可避免的設計導入上的微妙問題提供了更深入的見解。這些 SiC MOSFET 讓電源系統設計人員擁有了額外的核心資源,使他們可以實現更高的能效、更小的尺寸和更好的整體性能。
(作者:Bill Schweber,來源:DigiKey得捷)
免責聲明:本文為轉載文章,轉載此文目的在于傳遞更多信息,版權歸原作者所有。本文所用視頻、圖片、文字如涉及作品版權問題,請聯系小編進行處理。
推薦閱讀:
貿澤與TE Connectivity 和Microchip Technology聯手推出聚焦汽車Zonal架構的電子書



